Электрооборудование буровой установки УРБ 2,5А предназначено для освещения рабочих мест буровой бригады, сигнализации для ограничения хода инструмента сверх допустимого, включения сигнализатора опасного напряжения при приближении мачты установки, к линии электропередач управления коробкой отбора мощности.
Все потребители электроэнергии получают питание от бортовой
сети автомашины КамАЗ-4310 напряжением 24В ввиду его безопасности и
экономичности.
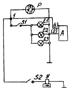
Электрооборудование монтируется по схеме (рис.
14).

Рис. 14 Схема электрическая.
SC -
переключатель КОМ, А - сигнализатор опасного напряжения, Е1,..,Е3 - фары, S1 -
переключатель фар, У - клапан электропневматический КОМ, Р - розетка.
Для обеспечения нормальных условий работы в темное время суток
на мачте установлены три фары El, E2, ЕЗ. Причем две фары,
установленные на высоте 2,5 м, предназначены для освещения устья скважины и
площадки помбура, а третья фара, установленная на высоте 8,5 м, служит для
освещения рабочего хода инструмента при работе установки. Переключателем
S1 включаются и отключаются сразу все фары.
Устройство СОН,
установленное на задней стойке мачты, предназначено для предупреждения
обслуживающего персонала установки подачей светового или звукового сигнала о
приближении верхней части мачты при ее подъеме к проводам линий электропередачи.
При этом необходимо прекратить работу, опустить мачту и переехать на другое
место, где обеспечивается безопасная работа установки.
Управление
односкоростной коробкой отбора мощности - электропневматическое - осуществляется
переключателем S4, установленным в кабине водителя.
Заземляющее
устройство, размещенное на установке, служит основной мерой защиты персонала от
вредного действия наведенного статического заряда электричества при грозовых
разрядах. При приближении грозового фронта необходимо прекратить все работы,
опустить мачту и заземляющие электроды вбить в землю на всю
глубину.
Схема установки
сигнализатора
опасного напряжения, заземляющего устройства:
-
Пульт усилительно-исполнительный "ПА" УСОМ установите на задней стойке мачты буровой установки.
-
Антенну "w" УСОМ установите рядом с кронблоком на мачте см."Вид А, IV").
-
Крепление пульта "ПА" и антенны "w" производите крепежными изделиями, поставляемыми комплектно с сигнализатором УСОМ.
-
Соединение пульта "ПА" с антенной "w" и с узлами электрооборудования буровой установки производите согласно инструкции по эксплуатации на сигнализатор УСОМ.
-
Кабель от пульта "ПА" до антенны" W" прокладывается по мачте вместе с проводами, идущими к фарам
-
Допускается замена отдельных элементов электрооборудования.
-
Монтаж проводов и кабелей следует вести в металлических трубах.
-
В месте перехода проводов с мачты на заднюю стойку сделайте петлю, обеспечивающую свободный подъем и опускание мачты, а также сохранность проводов.
-
Длина проводов уточняется при монтаже.
-
Все соединения и крепления элементов электрооборудования - коробки отбора мощности производится согласно инструкции по эксплуатации КОМ.

