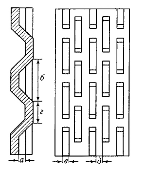
На рис. 9.6 и 9.7 представлены фильтры и детали проходного отверстия типа мост. Менее совершенными. в гидравлическом смысле являются сетчатые и фильтры с намоткой круглой формы. Блочные фильтры состоят из мелких частиц гравия, скрепленных друг с другом специальным клеем. Фильтры, предназначенные для станционного применения, изготовляют из нержавеющих материалов (латунь, пластик и т. п.) или покрываются специальным антикоррозийным покрытием типа рильсан и т.д.
Рис. 9.6. Фильтр с проходными отверстиями типа
«мост»

Рис. 9.7. Детали проходных отверстий:
а —высота моста;
б—длина щели; в — ширина моста; г— перемычка между щелями по
вертикали; д —перемычка между щелями по образующей

