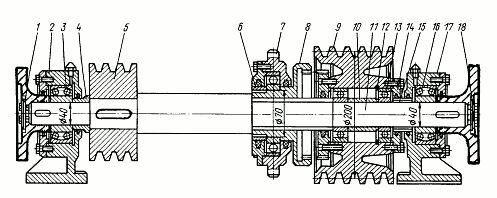
На валу 11 (рис.4), смонтированном на двух подшипниковых опорах 2 и 17 и шарикоподшипниках 3 и 16, свободно посажен шкив 9 клиноременной передачи привода насоса, шкив 5 привода механизма подачи посажен на шпонке.
Шкив 9 включается в работу полумуфтой 8, передвигающейся по шлицам вала 11; управление полумуфтой осуществляется бугелем 7, в который вмонтирован шарикоподшипник. В бугеле шарикоподшипник удерживается крышкой, а на ступице полумуфты - круглой гайкой 6.
Шкив 5 постоянно включен.
Фиксация шкивов к бортам вала производится затяжкой болтов, передающих усилия через упорные шайбы 1 и 18, фланцы, внутренние кольца шарикоподшипников 3,13,16 и втулки 4,10 и 15.
Шарикоподшипник 13 фиксируется в шкиве при помощи пружинного кольца 12 и крышки 14.
Шарикоподшипник трансмиссионного вала смазывается через пресс-масленки. Смазка, нагнетаемая прессом, попадает в сферический подшипник, а затем через внутренний паз сальниковой втулки в ступицы клиноременного шкива.

Рис. 4. Главная трансмиссия:
1, 18 -
шайбы упорные; 2, 17 - опоры подшипниковые; 3, 13, 16 - шарикоподшипники; СИ;
4,10, 15 - втулки сальниковые; 5 - шкив привода механизма подачи; 6 - гайка; 7 -
бугель; 8 - полумуфта; 9 - шкив клиноременных передач привода насоса; 11 - вал;
12 - кольцо пружинное; 14 - крышка.

