Гравийно-обсыпные фильтры обеспечивают устойчивый водоотбор и используются при сооружении эксплуатационных и дренажных скважин в мелкозернистых и среднезернистых песках. Толщина гравийной обсыпки должна быть не менее 90—100 мм, размер гравия подбирают из соотношения:
(9.9)
где D50 — средний размер гравия, мм; d50-средний размер водонасыщенного песка, мм.
Подачу гравия в прифильтровую зону осуществляют насосом по специальным (питательным) трубам, либо непосредственно в затрубное пространство, если глубина засыпки не превышает 100—150 Концентрация гравия в воде не должна превышать 10—12%; при коцентрации гравия более 15—17% в нагнетательной линии возникают пробки. Гравий должен быть однороден по своему размеру.
При сооружении гравийных фильтров в глубоких скважинах пользуют схему подачи гравия по специальной нагнетательной ко не, которая устанавливается внутри эксплуатационной: в последней имеются специальные отверстия для нагнетания гравия в прифильтровую зону. После заполнения прифильтровой зоны гравием нагнетательную колонну извлекают.
Для повышения надежности работы фильтра создают запас гравия над верхними отверстиями каркаса фильтра высотой 5—10 м с учетом его возможного проседания и уплотнения при эксплуатации. Разработана технология намыва гравия в фильтровую зону с использованием специального инструмента для случая когда фильтровая колонна установлена впотай и когда она выведена на поверхность — УГФ. В качестве фильтра использованы щелевые и проволочные конструкции.
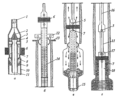
На рис. 9.8 представлена схема намыва гравия в фильтровую колонну, установленную «впотай». Специальный инструмент устанавливают над фильтром внутри эксплуатационной колонны и фиксируют на устье скважины. Пакер под действием осевого усилия от веса труб разжимается и герметизирует кольцевое пространство между фильтровой и эксплуатационной колоннами. Прямую промывку осуществляют с помощью бурового насоса по бурильным трубам и далее по затрубному зазору в прифильтровую зону.

Рис. 9.8.
Сооружение гравийного фильтра в скважине при установке фильтровой колонны
впотай:
а - инструмент для сооружения гравийного фильтра УГФ-П; б - установка
УГФ-П на устье над фильтровой трубой; в - фиксация УГФ-П в скважине и намыв
гравия; г - излечение УГФ-П из скважин. 1-верхний торец трубы; 2-пробка;
3-герметизирующая втулка; 4-направляющая втулка; 5-опорный патрубок; 6-пакер;
7-выпускные отверстия; 8-конус; 9-седло; 10-переходник; 11-вспомогательная
труба; 12-хомут; 13-центраторы; 14-фильтровая колонна; 15-отстойник с обратным
клапаном; 16-бурильная колонна; 17-замковое соединение; 18-надфильтровая
труба
Через отверстия фильтра вода входит внутрь фильтра и затем чепе верхние отверстия над пакером попадает в кольцевое пространство и к устью скважины. После промывки в нагнетательную магистраль попадает гравий, который заполняет прифильтровую зону, вода частично попадает в пласт. Заполнение прифильтровой зоны гравием отмечается резким повышением давления в нагнетательной линии за счет перекрытия гравием выпускных отверстий. Далее инструмент взвешивают и поворачивают на 45—60°, в результате опорные патрубки инструмента выходят из замкового соединения фильтровой колонны и инструмент извлекают из скважины.
При использовании схемы оборудования скважины с выводом фильтровой колонны на поверхность предусматривают герметизацию пространства между фильтровой и эксплуатационной колонной на устье скважины. Подачу гравия в нагнетательную магистраль осуществляют эжекторным или буровым насосом. Концентрация гравия в воде не должна превышать 12—17%, что исключает образование гравийных пробок. Процесс закачки гравия должен быть непрерывным, гравий должен быть отсортирован и не иметь посторонних примесей.
При одновременном оборудовании гравийными
фильтрами нескольких водоносных пластов используют
многосекционный специальный инструмент.

