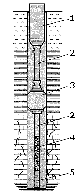
При углубке скважин осуществляют предварительное изучение водоносных пластов с помощью специальных инструментов — испытателей пластов. В устойчивых породах используют испытатель пластов СИП-3, который устанавливают на забой таким образом, чтобы фильтр 4 находился в зоне водоносного пласта. Это достигается различной длиной хвостовика 5. Под действием веса бурильных труб 2 резиновый пакер 3 расширяется и перекрывает ствол скважины.
Опробование водоносного пласта осуществляют эрлифтной откачкой, для чего в верхнюю часть буровой колонны включают колонковые трубы (рис. 9.15).

Рис. 9.15. Схема установки снаряда СИП-3 в скважине
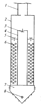
В рыхлых песчано-глинистых отложениях применяют бурение с глинистым раствором. Для опробования водоносных пластов используют опробователь пластов ОП. При встрече водоносного пласта на бурильных трубах спускается фильтр-опробователь (рис. 9.16), который внедряют в рыхлый водонасыщенный песок путем нагнетания в гидромониторный наконечник воды и расхаживания бурового снаряда.

Рис. 9.16. Фильтр-опробователь пластов ОП
После вскрытия рыхлого песчаного водоносного пласта буровой инструмент из скважины извлекают, а вместо него на бурильных трубах опускают фильтр-опробователь. Через бурильные трубы (см. рис. 9.16). Да от насоса подается в корпус 2 фильтра-опробователя и далее через клапан 3 и промывочную трубку 4 в отверстие 8 в лопастном долоте 7. Гидродинамическое воздействие истекающей из отверстия 7 оды и периодическое расхаживание бурового инструмента обеспечивает внедрение фильтраoпробователя в пласт на глубину 1,5—2,0 м. Наличие обратных клапанов 5 препятствует поступлению воды в зазор корпусом 2 и промывочной трубкой 4.
После внедрения фильтра-опробователя (его длина составляет 1,0 - 1,2 м) над ним образуется песчаная пробка, перемешанная с глинистым раствором, которая изолирует его от ствола скважины, заполненной глинистым раствором.Поэтому в бурильных трубах устанавливается пьезометрический уровень воды, соответствующий статическому уровню водоносного пласта. Замер уровня воды в бурильных трубах производят электроуровнемером. Из бурильных труб можно осуществить эрлифтную микрооткачку, если в них опустить воздушные трубки малого диаметра (18—20 мм). Пластовая вода, фильтруясь через сетчатое покрытие 6, поднимается вверх через обратные клапаны 5, поступает в бурильные трубы 1 и далее на дневную поверхность. В результате проведения такой микрооткачки осуществляют отбор пробы пластовой воды для химического и бактериологического анализа, а также ориентировочно оценивают удельный дебит пласта.
Опережающий метод используют на стадии поисково-разведочных работ
для последовательного опробования рыхлых водоносных платов,
вскрываемых при бурении скважин с
глинистым Данный метод позволяет отказаться от весьма трудоемких работ по
установке стандартных фильтров, их изоляции и проведения опытных откачек.
Он
обеспечивает повышение производительности бурения на примере
гидрогеологических исследований на Северном Кавказ в 5-7 раз по
сравнению с традиционными методами.
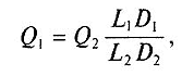
Фильтрационные свойства пласта при опережающем опробовании приближении определяют по формуле
(9.17)
где Q1 - проектный дебит скважины, м³/ч; Q2 - дебит, получаемый при опережающем опробовании, м³/ч; L1 и D1 - соответственно длина и диаметр проектируемого фильтра, м; L2 и D2 - то же для фильтра-опробователя.
В бурении глубоких скважин на промышленные и минеральные воды используют опробователи и испытатели пластов нефтяного ряда.

