Назначение компенсатора сферического
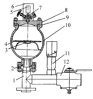
На блоке гидравлическом с помощью тройника 1 (рис.9) установлен компенсатор сферический с клапаном предохранительным 11 и трехходовой кран 12.
| Обьем газовой камеры компенсатора, дм3 | 10 |
| Максимальное предварительное давление газа в компенсаторе, МПа (кгс/см²) | 2,4 (24) |
| Максимальное рабочее давление газа в компенсаторе , МПа (кгс/см²) | 4,0 (40) |
Компенсатор сферический предназначен для снижения степени неравномерности давления жидкости на выходе из насоса, вызванной неравномерностью подачи промывочной жидкости.
Компенсатор сферический состоит из корпуса 9 (рис.9), который разделен на две полости резиновой диафрагмой 10, армированной металлическим сердечником 3. Верхняя полость внутри диафрагмы заполняется воздухом или азотом. На крышке компенсатора в установлен переходник в сборе 7 с манометром 5 (для контроля газа в компенсаторе): Сверху манометр закрыт ограждением 6.

Рис. 9 Компенсатор
сферический
1 - тройник; 2 - прокладка; 3 - сердечник;4 - стабилизатор; 5 -
манометр; 6 - ограждение; 7 - переходник в сборе; 8 - крышка компенсатора; 9 -
корпус компенсатора; 10 - диафрагма; 11 - клапан предохранительный; 13 - кран
трёхходовой
Переходник в сборе
Переходник в сборе (рис.10) служит для обеспечения нормальной работы компенсатора. В переходник 2 установлен вентиль игольчатый 1, штуцер воздушный 6, пробка спускная 3 и пробка разрядная 5. Дня нормальной работы компенсатора рекомендуемое давление воздуха в воздушной полости должно составлять 0,3...0.6 от рабочего давления, которое контролируется с помощью манометра.

