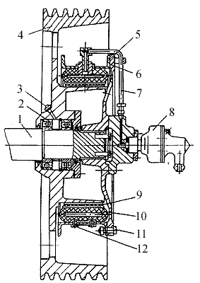
Пневмомуфта со шкивом бурового насоса НБ-32
Пневмомуфта со шкивом (рис.5) предназначена для пуска и остановки
бурового насоса при работающем
двигателе и дает возможность дистанционного управления насосом.
Шкив
4 на подшипниках 2 свободно вращается на трансмиссионном валу
насоса 1. Обод 5 болтами 11 закреплен на планшайбе
6, которая шлицевым соединением связана с трансмиссионным валом.
Баллон шиннопневматический съемный 10 с пластинами фрикционными 9 установлен внутри обода, с которым связан болтами 12. Сжатый воздух под давлением 0,6...0,8 МПа подается в баллон шиннопневматический съемный через вертлюжок с фланцевым креплением и систему воздухопровода 7. При этом баллон шиннопневматический съемный пластинами фрикционными обжимает обод и муфта замыкается. Вращение шкива через обод, баллом шиннопневматический съемный, планшайбу, шлицевое соединение передается трансмиссионному валу насоса.

Рис.5 Пневмомуфта со шкивом
1 - вал трансмиссионный; 2 -
подшипник 214; 3 - масленка; 4 - шкив; 5 - обод; 6 - планшайба; 7 -
воздухопровод; 8 - вертлюжок; 9 - пластина фрикционная; 10 - баллон
шиннопневматический съёмный; 11 - болт; 12 - болт
Фрикционная муфта со шкивом
Фрикционная муфта со шкивом (рис.6) обеспечивает управление насосом (пуск и остановку) при работающем двигателе. Сцепление муфты производится вращением рукоятки 1 против часовой стрелки, при этом конус 12 перемещается и раздвигает кулачки 11, которые замыкают муфту. Муфта имеет два ведущих 8, три ведомых диска 10.
Для пуска насоса исполнений 05; 06; 11; 12 (с фрикционной муфтой) необходимо пустить в ход двигатель (желательно при пониженном числе оборотов), включить муфту и постепенно довести число оборотов до нормального. Для остановки насоса - выключить муфту, а затем двигатель.
При проскальзывании дисков и невозможности дальнейшей затяжки с помощью рукоятки необходимо вращением гайки 15 приблизить кулачки 11 диску 10 на величину, обеспечивающую надежное замыкание муфты. Гайка 15 стопорится с помощью стопора, входящего в отверстие диска.

Рис. 6. Фрикционная муфта со шкивом
1 - рукоятка; 2 - тяга; 3 -
вал трансмиссионный; 4 - подшипник 214; 5 - масленка; 6 - накладка; 7 - шкив; 8
- диск; 9 - болт поводковый; 10 - диски; 11 - кулачок; 12 - конус; 13 -
подшипник 208; 14 - стопор; 15 - гайка специальная; 16 - палец муфты; 17 - кожух
шкива

