Для бурения в геологических разрезах, представленных, в основном, породами VIII-X категорий по буримости и породами средней твердости VI-VII категорий с пропластками более твердых пород, разработаны специальные технические средства - снаряды со съемными керноприемниками (ССК), позволяющие извлекать керн из скважины через бурильную колонну с помощью съемного керноприемника, поднимаемого на канате. Для комплектации гладкоствольной (снаружи и внутри) бурильной колонны, применяемой при алмазном бурении на высоких частотах вращения в породах VIII-XI категорий по буримости на глубину до 1200 (1500) м, используются гладкие бурильные трубы, технические данные которых приведены в табл. 3.13.
В бурильных комплексах ССК начиная с 1975 года впервые для геологоразведочного бурения начали применяться прецезионные бурильные трубы с высокоточными двухупорными резьбовыми соединениями. Из всех существующих типов резьбовых соединений при заданном наружном и внутреннем диаметрах двухупорное соединение обладает наивысшей прочностью, жесткостью и герметичностью.
Бурение с ССК наиболее целесообразно осуществлять с использованием станков (установок) с подвижным вращателем.
Трубы ТБСЛ предусматриваются ГОСТ Р51245-99 «Трубы бурильные стальные легкой серии». Трубы должны выпускаться двух модификаций:
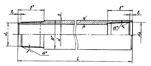
- ТБСЛ - цельнотянутые (рис. 3.4, табл. 3.14);
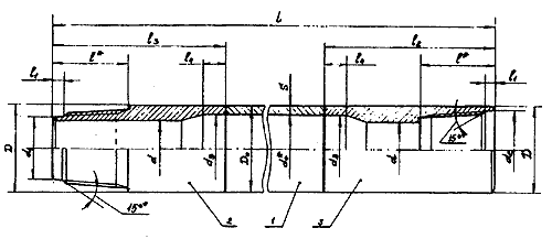
- ТБСЛ-П - с приваренными концами (рис. 3.5, табл. 3.15).

Рис. 3.4. Цельнотянутая бурильная труба (ТБСЛ).
Рис. 3.5. Бурильная труба с приваренными концами (ТБСЛ).
1 -
труба; 2 - приваренный конец с наружной резьбой; 3 -
приваренный конец с внутренней резьбой.
Таблица 3.14. Сортамент цельнотянутых бурильных труб ТБСЛ (см. рис. 3.4)
| Параметры труб | Значения параметров для труб типоразмером | ||||
| ТБСЛ-43 | ТБСЛ-5 5 | ТБСЛ-70 | ТБСЛ-89 | ТБСЛ-114 | |
| Наружный диаметр трубы D* | 43 | 55 | 70 | 89 | 114 |
| Внутренний диаметр трубы d | 33,4 | 45,4 | 60,4 | 78 | 102 |
| Толщина стенки трубы S | 4,8 | 4,8 | 4,8 | 5,5 | 6,0 |
| Длина трубы L |
1500 |
1500 3000 4500 |
1500 3000 4500 |
1500 3000 4500 |
1500 3000 4500 |
| Общая длина проточки (расточки) подрезьбу l* | 32 | 42 | 42 | 50 | 50 |
| Диаметр конической проточки в плоскости торца d1 | 36,60 | 48,20 | 63,20 | 81,15 | 105,90 |
| Диаметр конической расточки в плоскости торца d2 | 39,15 | 51,35 | 66,35 | 85,15 | 109,90 |
| Длина проточки (расточки) l1 | 4,5 | 4,5 | 4,5 | 4,5 | 4,5 |
| Расчетная масса 1 м трубы, кг | 4,52 | 5,94 | 7,22 | 11,33 | 15,98 |
Размеры резьбы даны на рис. 3.6 и 3.7 и в табл. 3.16.
Допуск
прямолинейности на любом участке длиной 1 м цельнотянутых труб диаметром 43, 55
и 70 мм - 0,3 мм; диаметром 89 мм - 0,5 мм, диаметром 114 мм - 0,7 мм.

Рис. 3.6. Наружная резьба.

Рис. 3.7. Внутренняя
резьба.
Таблица 3.15. Сортамент бурильных труб ТБСЛ-П
| Параметры труб | Значения параметров для труб типоразмером | |||
| ТБСЛ-П-43 | ТБСЛ-П-55 | ТБСЛ-П-70 | ТБСЛ-П-89 | |
| Наружный диаметр трубы D0 | 43 | 55 | 70 | 89 |
| Толщина стенки трубы S | 3,5 | 3,5 | 3,5 | 3,5 |
| Внутренний диаметр труб do* | 36 | 48 | 63 | 80 |
| Наружный диаметр приваренного конца D | 43,5 | 55,5 | 70,5 | 89,5 |
| Внутренний диаметр приваренного конца d | 33 | 45 | 60 | 78,5 |
| Длина бурильной трубы L | 1500 3000 |
1500 3000 4500 |
1500 3000 4500 |
1500 3000 4500 |
| Длина приваренного конца с внутренней резьбой l2 | 70 | 80 | 80 | 90 |
| Длина приваренного конца с наружной резьбой l3 | 70 | 80 | 80 | 90 |
| Общая длина расточки (проточки) под- резьбу l* | 32 | 42 | 42 | 50 |
| Диаметр конической проточки в плоскости торца d1 | 36,60 | 48,20 | 63,20 | 81,15 |
| Диаметр конической расточки в плоскости торца d2 | 39,15 | 51,35 | 66,35 | 85,15 |
| Длина проточки (расточки) l2 | 4,5 | 4,5 | 4,5 | 4,5 |
| Диаметр расточки приваренного конца под приварку d3 | 36 | 48 | 63 | 80 |
| Длина расточки приваренного конца под приварку l4 | 20 | 20 | 20 | 25 |
| Расчетная масса 1 м трубы (с учетом приваренных концов), кг | 3,35 | 4,55 | 6,00 | 9,45 |
Таблица 3.16. Размеры (мм) резьбы бурильных труб ТБСЛ (ТБСЛ-П)
| Параметры резьбы труб и приваренных концов | Значения параметров для труб (приваренных концов) | ||||
| 43 | 55 | 70 | 89 | 114 | |
| Наружный диаметр наружной резьбы в основной плоскости dH | 38,800 | 50,962 | 65,938 | 84,750 | 109,534 |
| Внутренний диаметр наружной резьбы в основной плоскости dB | 37,300 | 49,162 | 64,138 | 82,350 | 107,134 |
| Наружный диаметр внутренней резьбы в основной плоскости Dн | 38,800 | 50,962 | 65,938 | 84,750 | 109,534 |
| Внутренний диаметр внутренней резьбы в основной плоскости Db | 37,400 | 49,262 | 64,238 | 82,450 | 107,234 |
| Наружный диаметр наружной резьбы в плоскости торца d1 | 38,100 | 50,000 | 65,000 | 83,550 | 108,300 |
| Внутренний диаметр внутренней резьбы в плоскости торца D1 | 37,637 | 49,550 | 64,550 | 82,750 | 107,550 |
| Расстояние между упорными коническими поверхностями наружной резьбы l | 31,183 | 40,922 | 40,922 | 48,759 | 48,759 |
| Расстояние между упорными поверхностями внутренней резьбы L | 31,283 | 41,022 . | 41,022 | 48,859 | 48,859 |
| Длина резьбы с полным профилем l1 (L1) не менее | 28 | 38 | 38 | 46 | 46 |
| Расстояние от внутреннего угла наружного уступа до основной плоскости наружной резьбы l2 | 12,0 | 12,0 | 12,0 | 11,5 | 11,0 |
| Расстояние от торца трубы до основной плоскости L2 | 10,0 | 10,0 | 10,0 | 10,0 | 10,0 |
| Шаг резьбы Р | 6,0 | 8,0 | 8,0 | 8,0 | 8,0 |
| Высота витка наружной резьбы tH | 0,75 | 0,90 | 0,90 | 1,20 | 1,20 |
| Высота витка внутренней резьбы tb | 0,70 | 0,85 | 0,85 | 1,15 | 1,15 |
| Ширина впадины наружной резьбы m | 2,9 | 3,9 | 3,9 | 3,9 | 3,9 |
| Ширина вершины профиля наружной резьбы п | 2,698 | 3,618 | 3,618 | 3,456 | 3,456 |
| Ширина впадины внутренней резьбы М | 2,9 | 3,9 | 3,9 | 3,9 | 3,9 |
| Ширина вершины профиля внутренней резьбы N | 2,725 | 3,645 | 3,645 | 3,483 | 3,483 |
Допуск прямолинейности бурильной трубы ТБСЛ-П на любом участке длиной 1 м должен составлять: 0,4 мм - для труб диаметром 43 мм, 0,5 мм - диаметром 55 мм, 0,7 мм - диаметром 70 мм, 0,8 мм - диаметром 89 мм.
Механические свойства материала труб ТБСЛ
| Параметры | Значения параметров, не менее |
| Временное сопротивление разрыву
?в, МПа Предел текучести ?т, МПа Относительное удлинение ?s, % |
735 539 12 |
Приваренные концы труб ТБСЛ-П и резьба всех труб (ТБСЛ и ТБСЛ-П) подвергаются химико-термическому упрочнению (карбонитрации).

