Зажимные патроны буровых станков предназначены для закрепления ведущей трубы при вращении колонны бурильных труб. Патроны по принципу действия подразделяются на два типа: механические и пружинно-гидравлические.
Механический зажимной патрон
Механический патрон (рис. 67, а) состоит из стального корпуса, двух подвижных частей, закреплённых на одной оси, стяжного блока, пружины для их разведения, зажимных кулачков 7 и 8. Кулачки имеют насечку (резьбу), причем, чтобы ведущая труба не проскальзывала и не проворачивалась, на кулачке 7 насечка правая, а на кулачке 8 - левая. Верхний и нижний патроны комплектуются зажимными кулачками для разных диаметров труб в зависимости от типа станка.

Рис. 67. Механические
закжимные патроны: а — нижний патрон: 1 — корпус; 2, 3 — подвижные части; 4 —
ось; 5 — стяжной болт; 6 — пружина; 7 — кулачок с правой насечекой; 8 — кулачок
с левой насечкой; 9 — стопорная шайба; 10 — стопорный винт; 11 — болт; б —
верхний патрон: 1 корпус; 2 — зажимной болт; 3 — распорное кольцо; 4 —
кулачок.
Для бурения в мягких породах, чтобы не перекреплять патроны, применяют длинную трёхгранную ведущую трубу и специальный патрон с трёхгранным отверстием (рис. 67, б). Патрон для ведущей трубы навинчивается на верхнюю левую резьбу шпинделя вместо зажимного патрона с подвижными секторами. На нижний конец шпинделя навинчивается направляющая втулка-патрон для центрирования нижнего конца ведущей трубы. Патрон для ведущей трубы имеет три кулачка с зажимными болтами, которыми при осложнении или аварийном отключении электроэнергии можно зажать ведущую трубу и с помощью гидравлической подачи приподнять снаряд с забоя.
Пружинно-гидравлический зажимной патрон
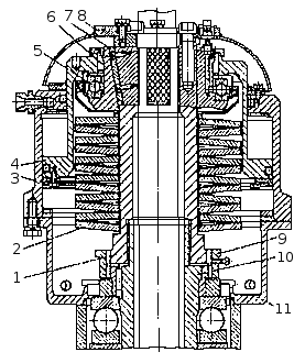
Шпиндель 1 пружинно-гидравлического патрона (рис. 68) соединён со шпинделем 10 вращателя при помощи прямоугольной резьбы, которая передает осевые нагрузки и с шлицевой муфтой 9, передающей крутящий момент. Такое комбинированное соединение предотвращает затяжку по резьбе.

Рис. 68.
Пружинно-гидравлический зажимной патрон.
Ведущая труба зажимается четырьмя кулачками 7 с помощью тарельчатых пружин 2, передающих осевую нагрузку через клиновые соединения. Разжимаются кулачки усилием гидравлического давления.
Гидравлический цилиндр 3 патрона установлен на фланце 11 траверсы вращателя и соединен маслопроводом с краном управления. При повышении давления в цилиндре поршень 4 через упорный подшипник 5 и обойму 6 сжимает тарельчатые пружины 2. Обойма, перемещаясь вниз, разводит при помощи Т-образных пазов кулачки 7 в радиальном направлении, освобождая ведущую трубу.
Кулачки перемещаются в пазах шпинделя 1 патрона. Сверху патрон защищен крышкой 5. Закрепление и раскрепление трубы гидропатроном осуществляются с пульта управления.

