Винтовой компрессор
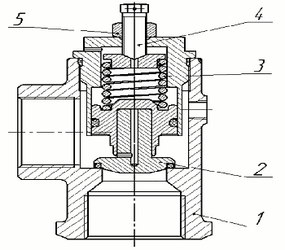
Винтовой компрессор представляет собой винтовую машину маслозаполненного типа, предназначенную для выработки сжатого воздуха . Рабочими органами компрессора являются находящиеся друг с другом в зацеплении роторы (рисунок 2). Компрессор работает по принципу объемного сжатия. Воздух , всасываемый компрессором, заполняет парную полость, образованную профильными частями роторов и внутренней поверхностью корпуса компрессора.

Рисунок 2 .Схема сжатия воздуха в компрессоре
При вращении роторов зуб ведущего ротора входит во впадину ведомого ротора, уменьшая объем парной полости. Процесс сжатия завершается, когда парная полость соединяется с окном нагнетания компрессора и сжатый воздух выталкивается в патрубок нагнетания. В ходе сжатия в рабочую полость компрессора через отверстие в корпусе впрыскивается масло для отвода тепла, уменьшения трения между роторами, уплотнения зазоров, уменьшения уровня шума, а также смазки подшипниковых узлов .
Клапан впускной
Впускной клапан обеспечивает регулирование объемной производительности сжатого воздуха компрессорной установки и оборотов коленчатого вала дизеля в зависимости от потребления. Монтируется непосредственно на компрессор. Впускной клапан не требует специального обслуживания.
Фильтр воздушный
Воздушный фильтр установлен внутри компрессорной установки.
Принцип работы :
Смесь из фракций пыли и воздуха засасываетс во впускное окно фильтра. Далее смесь проходит через фильтрующий элемент грубой очистки, в котором задерживаются крупные фракции пыли. Затем фильтрующим элементом тонкой очистки отделяется пыль мелкой фракции. Подлежит замене каждые 2000 рабочих часов, но не реже одного раза в год .
Компрессорна установка снабжена индикатором засоренности воздушного фильтра. Индикатор установлен на маслоотделителе компрессорной установки. При достижении предельно допускаемой засоренности воздушного фильтра срабатывает сигнализирующее устройство – барабан красного цвета. Это вл етс сигналом смены фильтрующего элемента воздушного фильтра. После замены фильтрующего элемента перевести индикатор в рабочее положение. Для этого необходимо повернуть диск с накаткой ( часть индикатора ) до упора, в направлении указанном стрелкой и отпустить.
Клапан минимального давления
Клапан минимального давлени (рис . 3) расположен на маслоотделителе. Обеспечивает минимальное давление сжатого воздуха внутри КУ (0,45 МПа ). Данное давление необходимо, чтобы обеспечить циркуляцию масла независимо от режима выработки компрессором сжатого воздуха. Предотвращает обратный поток сжатого воздуха из пневмосети или ресивера в компрессор ( как обратный клапан ). Это дает возможность полностью разгружать маслоотделитель при отключении. Клапан работает автоматически.

Рисунок 3 - Клапан
минимального давления
1 - стакан клапана ; 2 - поршень ; 3 - пружина ; 4 -
шток ; 5 - гайка регулировочная
Клапан предохранительный
Предохранительный клапан (рис . 4), установленный на маслоотделителе, служит для защиты маслоотделителя от превышения давления. Предохранительный клапан открывается при определенном давлениияя. не позволяя давлению в маслоотделителе повыситься до опасной величины. Функциональна проверка осуществляется принудительным открытием его во время работы установки путем нажатия на рукоятку .

Рисунок 4 - Клапан
предохранительный
1 - корпус ; 2 - рукоять ; 3 - пружина ;4 – кольцо
уплотнительное ; 5 - поршень .
Фильтр масляный
Масляный фильтр служит для очистки масла компрессора от загрязнени. Тонкость очистки составляет 5 - 10 мкм. Маслный фильтр имеет сменный фильтрующий элемент, перепускной клапан , который открывается при холодном, имеющем высокую вязкость, масле или при сильном загрязнении фильтра. Подлежит замене каждые 2000 рабочих часов, но не реже одного раза в год .
Клапан термостатический
Служит для поддержания номинальной температуры нагнетаемого масла во избежание образования конденсата в масле за счет влаги, присутствующей во всасываемом воздухе, что может привести к изменению его смазывающих свойств и увеличению процентного содержани масла в сжатом воздухе (рис .5). Рабочий термоэлемент настроен на плюс 65º ... плюс 70ºС, заменяемый .
В зависимости от температуры через подвижную гильзу термостатического клапана с возвратной пружиной поток масла 1 автоматически направляетс либо по каналу 3 в блок охлаждения, затем через масляный фильтр в компрессор, либо по каналу 2 через масляный фильтр прямо в компрессор. При работе компрессора с температурой выше 80ºС практически предотвращается выпадение конденсата в контуре компрессора , если указанная температура быстро достигается и поддерживается.
Работа КУ с недопустимым превышением температуры может привести к выходу из строя компрессора. Термостат не требует специального обслуживания.

Рисунок 5 –
Термостат
Маслоотделитель
Маслоотделитель предназначен для очистки сжатого воздуха от масла и состоит из корпуса, крышки и сепаратора тонкой очистки масла. На корпусе маслоотделителя крепится клапан предохранительный, а на крышке - клапан минимального давления. Масловоздушная смесь поступая из компрессора, ударяется в расположенный под оптимальным углом отбойник, при этом некоторая часть масла отделяется и стекает на дно маслоотделителя. Воздух же с остатками масла, за счет отбойника, приобретает вращательное движение. Крупные частицы масла под действием центробежных сил отбрасываются к стенке корпуса и оседают на нем. Частицы масла не отделившиеся в поле центробежных сил улавливаются сепаратором тонкой очистки . Масло стекает на дно фильтрующего элемента, откуда отводится в полость компрессора на смазку подшипников.
Фильтр - патрон тонкой очистки масла
Фильтр - патрон тонкой очистки масла (рис . 6) служит дл окончательной очистки сжатого воздуха после инерционного отделения масла из воздуха. Применение такой двухступенчатой технологии обеспечивает технически качественный сжатый воздух с содержанием масла не более 3,5 мг /3 (содержание масла в сжатом воздухе зависит от рабочей температуры и конечного давления). Фильтр - патрон установлен в корпусе маслоотделителя.

Рисунок 6 – Фильтр - патрон
тонкой очистки масла

