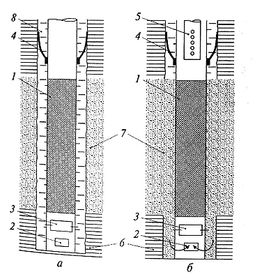
Схема раскольматации пласта через промывочные окна
Бурение разведочных гидрогеологических скважин в песчано-глинистых породах использует схему раскольматации прифильтровых зон через промывочные окна, которые устанавливают в нижней части фильтра (рис. 9.11). В зоне водоносного пласта через фильтровую колонну с помощью эрлифта осуществляют откачку, в результате чего происходит обрушение закольматированной глинистым раствором породы пласта и ее удаление на поверхность.
По окончании процесса раскольматации пласта промывочные окна перекрываются специальным внутренним кольцом путем нажатия воздушных труб эрлифта на перемычку кольца. Для предотвращения поступления глинистого раствора в прифильтровую зону при откачке над фильтром устанавливают эластичный пакер.
Рис 9.11. Схема раскольматации пласта через
промывочные окна
а - установка фильтра в зону пласта; б - откачка эрлифтом;.
1 - сетчатый фильтр; 2 - окно; 3 - кольцо; 4 - пакер; 5 - смеситель эрлифт; 6 -
глинистые породы; 7 - водоносные пески; 8 - глинистый раствор
Из физических методов используют взрыв торпед детонирующего шнура в фильтре.
В результате происходит деформация пород приза, бойной зоны, а при последующей
откачке удаляют продукты кольматажа.
Схема раскольматации пласта установкой АСП-Т
Аналогичным образом решают эту задачу и при использовании специальных пневмоизлучателей, которые от компрессора периодически передают на фильтр и пласт гидродинамические импульсы (рис. 9.12).

Рис. 9.12. Схема раскольматации пласта установкой
АСП-Т:
1 - компрессор; 2 - баллоны сжатого воздуха; 3 - магистраль
пневмокамеры; 4 - фильтровая колонна; 5 - фильтр; 6 –
пневмокамера
Схема раскольматации пласта с использованием кавитатора
Освоение прифильтровой зоны производят, по-видимому, специальным устройством — кавитатором, который генерирует высокие перепады давлений жидкости и тем самым способствует процессу раскольматации (рис. 9.13).

Рис. 9.13. 1 — погружной насос; .2—водоподъемная колонна; 3 — обводная трубка; 4—электрогидравлический клапан: 5— гидравлический излучатель (кавитатор); 6—уровнемер; 7 —расходомер; 8— блок ера нения; 9— задатчик динамического уровня; 10 — залатчик расхода; 11—исполнительное реле

