Вертлюг-сальники предназначены для подачи промывочной жидкости из неподвижного нагнетательного шланга во вращающуюся колонну бурильных труб, а также для удержания снаряда в подвешенном состоянии при перекреплении зажимного патрона вращателя бурового станка и для снятия излишней осевой нагрузки (как правило, при больших глубинах скважин).
Вертлюги-сальники типа ВС, предназначены для алмазного бурения и рассчитанные на высокие частоты вращения бурового снаряда. Техническая характеристика вертлюгов-сальников приведена в табл. 29.
Таблица 29. Основные параметры вертлюгов-сальников
|
Наименование параметров |
Значения параметров для вертлюгов-сальников | |||
|
ВС-2,5 |
ВС-5 |
ВС-10 |
ВС-12,5/20 | |
|
Грузоподъемность, кН |
25 |
50 |
100 |
200 |
|
Максимальная частота вращения бурового снаряда, об/мин |
1200 |
900 |
600 |
1000 |
|
Давление промывочной жидкости, Мпа |
5,0 |
5,0 |
5,0 |
6,3 |
|
Высота, мм |
580 |
670 |
895 |
780 |
|
Масса, кг |
27,8 |
36,3 |
96,3 |
97,0 |
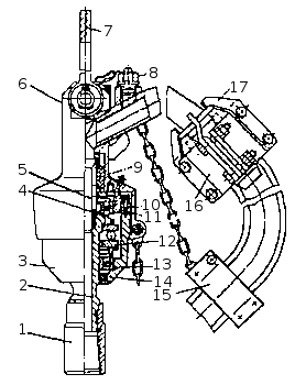
На рис. 25 приведен вертлюг-сальник ВС-2,5. Он состоит из корпуса 3 и крышки 6, соединяющихся между собой с помощью левой метрической резьбы. Крышка имеет продольный паз. Верхняя часть крышки осью соединяется с серьгой 7, к которой крепится канат лебедки бурового станка. Патрубок, приваренный к боковой поверхности крышки, имеет узел крепления 17 и 16 нагнетательного шланга. Нагнетательный шланг удерживается от падения в случае срыва его с патрубка цепью, соединенной с патрубками и накладками 15. Для засыпки в буровой снаряд заклиночного материала на патрубке имеется отверстие с пробкой 8, застрахованной от падения тросиком. Вращающийся шпиндель 2 установлен в корпусе на трех шарикоподшипниках 4, 12, 13.
Верхняя часть шпинделя соединяется левой резьбой с гильзой 5, которая является быстроизнашивающейся деталью вертлюга-сальника. Шпиндель изготовляют из стали марки ШХ-15, а его поверхность, контактирующая с уплотнительными манжетами 9, закалена ТВЧ. Шарикоподшипники 4 к 13 воспринимают радиальные нагрузки, а осевую нагрузку - упорный подшипник 12, регулируемый прокладками 10, помещенными между корпусом и кольцами 11. Вытекание смазки из внутренней полости вертлюга-сальника предупреждается манжетой 14. Нижний конец шпинделя левой резьбой соединен с переходником 1, который также через левую резьбу присоединяют к ведущей бурильной трубе.

Рис. 25. Вертлюг-сальник ВС - 2,5.

