Водоструйные насосы в качестве при вода используют энергию закачиваемой в них воды.
Преимущества водоструйных насосов:
- простота, отсутствие необходимости использования компрессора;
- возможность откачки воды с примесями песка.
Недостатки:
- невысокий КПД (<40%).
Разработаны водоструйные насосы для гидрогеологических (пробных) откачек НВ-89, НВ-108 и УНВ-127/168, рассчитанных на подъем воды соответственно из скважин 89, 108, 127 и 168 мм. Эти насосы развивают давление до 4,0 МПа и подачу воды от 2,0 до 4,0 м3/ч. Схема установки водоструйного насоса в скважину представлена на рис. 9.18, конструкция насоса НВ на рис. 9.19.

Рис. 9.18. Схема установки водоструйного насоса в
скважине:
1 — буровой насос; 2 — нагнетательная труба; 3 — пьезометрическая
труба; 4-фильтровая (водоподъемная) колонна; 5—промежуточная емкость; 6—
мерная емкость; 7 - водоструйный насос; 8 - фильтр.

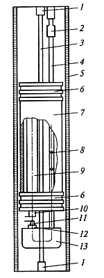
Рис. 9.19. Водоструйный насос:
1 — муфта
соединительная; 2 — переходник; 3 — пьезометрическая; 4 - нагнетательная труба;
5 - обсадная (фильтровая) колонна; 6 - кольца крепления пакера; 7 -
гидравлический пакер; 8 - отверстия в нагнетательной трубе; 9 - диффузор;
10 - смеситель; 11 - насадка; 12 - контргайка; 13 - корпус.
Закачиваемая в водоструйный насос вода частью поступает в насадку и диффузор, частью в резиновый пакер, который увеличивает свой размер и перекрывает внутреннюю полость водоподъемной колонны от ее фильтровой части.
Напорная характеристика водоструйных насосов
Напорная характеристика водоструйных насосов приведена на рис. 9.20, из которой видно, что по мере увеличения динамического уровня Нм подача насоса уменьшается. Для замеров динамического уровня воды в процессе откачки используют пьезометрическую трубку. Определение подачи насоса производят с помощью промежуточной и мерной емкостей.
Суммарный поток жидкости из водоподъемной колонны попадает сначала в промежуточную емкость, а из не в буровой насос и мерную емкость. По уровню воды в мерной емкости определяют производительность водоструйного насоса.
Рис. 9.20. Напорная характеристика водоструйных насосов НВ-108 (l), НВ-89 (2), УНВ-127/168 (3)
Коэффициент полезного действия водоструйных насосв
Коэффициент полезного действия водоструйной установки η (%) рассчитывают по формуле
(9.26)
где Qп — количество отводимой воды в водосборник, м3; Q0- общее количество воды, перекачиваемой насосом, м3; Н— полная высота подъёма воды, м; Н0 —напор, развиваемый насосом, м. При динамических уровнях 10—15 м η = 40—30%, а при 20-30 м он понижается до 20—15%.
Применение водоструйных насосов
Водоструйные насосы (гидроэлеваторы) применяют для пробных гидрогеологических откачек, когда в воде содержатся примеси песка, а также при эксплуатационных откачках, когда из-за низкого уровня использование эрлифта неэкомично. Водоструйные насосы используют для освоения водонасосных пластов. С этой целью периодически буровой насос отключается, и столб поднимаемой на поверхность воды в динамическом режиме воздействует на пласт, разрушая закольматированный материал.
Водоструйный насос НЭ-8-12 устанавливают в обсадной колонне диаметром 219 мм. Он обеспечивает подачу до 34,2 м3/ч и напор до 100 м при использовании поршневого насоса производительностью 4,5 л/с и давлением 3,0 МПа. Применяют водоструйные насосы ВН-2Ц, ВНШ и др., устанавливаемые в колоннах диаметром 168 мм, обеспечиваюшие подачу до 15 м3/ч и напор до 70 м.

