Принцип работы коробки отбора мощности буровой установки УРБ 2.5 А

Рис.2 - Кинематическая схема
1-8, 10 - шестерни; 9 - вал-шестерня; 11 - червяк однозаходный; 12 - колесо червячное; 13-18 - звездочки; 19-21 - муфты зубчатые; 22, 23 - муфты фрикционные; 24-27 - шкивы; А - двигатель КамАЗ-740, В - коробка отбора мощности; Е - трансмиссия механизма подачи на забой
При нагрузке КОМ моментом больше допустимого (Мдоп = 35 кгм)
штифт срезается. После устранения причин, вызвавших перегрузку трансмиссии
буровой установки, в
предохранительной муфте устанавливается запасной штифт 5 (рис. 3)

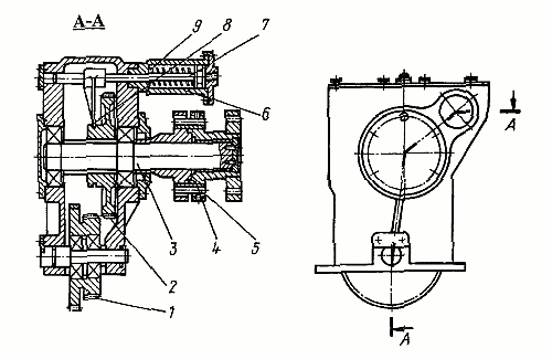
Рис. 3. Коробка отбора мощности (КОМ):
1 -
шестерня (z = 36; z = 26); 2 - шестерня (z = 42); 3 - вал; 4 - муфта
предохранительная; 5 - штифт (элемент срезной); 6 - пневмокамера; 7 - шток; 8 -
вилка; 9 - пружина
Включение КОМ осуществляется из кабины автомобиля тумблером, который дистанционно с помощью электропневмоклапана осуществляет подачу воздуха в камеру 6, где шток 7 с помощью вилки 8 передвигает шестерню 2 в зацепление с шестерней 1. Возврат штока в исходное положение осуществляется пружиной 9.

