Лебёдка буровой установки предназначена для подъёма и спуска бурового снаряда в скважину, колонн обсадных труб, ликвидации аварий и других операций. На большинстве буровых станков установлены лебёдки планетарного типа. Кинематическая схема планетарной лебёдки дана на рис. 58. Вал лебёдки 15, приводимый в движение шестерней 12, свободно вращается в двух двухрядных сферических подшипниках 14. На валу жёстко (на шпонках) посажена шестерня 3, получившая название солнечной. Тормозная крышка 5, водило 8 и барабан 10 на валу посажены на шарикоподшипниках свободно.

Рис. 58. Кинематическая схема планетарной лебёдки бурового станка
Барабан 10 лебедки с левой стороны имеет расточку, в которой запрессован зубчатый венец 6, с правой стороны - тормозной шкив 13. Зубчатый венец 6 находится в постоянном зацеплении с тремя сателлитами 1, вращающимися на шарикоподшипниках 4, установленных в гнездах тормозной шайбы 5 и водила 8. Тормозная шайба и водило скреплены между собой шестью болтами и образуют вместе с сателлитами и шарикоподшипниками отдельный блок, вращающийся на шариковых подшипниках 9 и 2 на валу 15. Сателлиты, сцепляясь с венцом 6, находятся одновременно в зацеплении с солнечной шестерней 3.
Для управления лебедкой предусмотрено два колодочных тормоза: тормоз подъема 7 и тормоз спуска бурового снаряда 11. Если передать вращение с помощью шестерни 12 на вал 15, одновременно затормозив тормозной шкив барабана тормозом спуска 11, вал лебёдки будет вращаться, значит, будет вращаться и шестерня 3. Зубчатый венец 6 неподвижен, так как барабан заторможен. Сателлиты, вращаясь вокруг своих осей, вынуждены обкатываться по зубчатому венцу 6. Тормозная шайба 5 и водило 8 вращаются, увлекаемые сателлитами 1. Канат на барабане в этом случае не наматывается и не разматывается. Если затормозить шайбу 5 тормозом подъёма 7 (тормоз спуска в этом случае нужно обязательно отпустить), то сателлиты вынуждены будут вращаться только вокруг своей оси. Вращение от солнечной шестерни 3 через сателлиты будет передаваться зубчатому венцу 6 и вместе с ним барабану лебедки. Канат наматывается на барабан - идет подъем груза. Если тормозной шкив барабана и тормозная шайба будут расторможены, барабан 10 под действием подвешенного на канате груза начнёт вращаться в обратную сторону, разматывая канат.
Лебёдки станков глубокого бурения на нефть и газ имеют водяное охлаждение. На рис. 59 дана кинематическая схема лебёдки с водяным охлаждением.

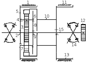
Рис. 59. Кинематичекая схема лебедки бурового станка с водяным охлаждением.
Тормоз спуска у них левый. Вращение на вал 1 лебёдки поступает от зубчатой полумуфты 15. На валу жестко (на шпонках) крепится солнечная шестерня 2. Солнечная шестерня постоянно зацеплена с тремя сателлитами 3, сидящими на осях на двух шарикоподшипниках. Оси сателлитов жёстко закреплены в барабане 7, посаженном на валу свободно (на шарикоподшипниках). На валу 1 свободно сидит тормозная крышка 5 с внутренним зубчатым венцом 4, с которым зацепляются все сателлиты. На рис. 59 изображен условно только один сателлит, а другие два, расположенные по окружности через 120°, не видны. При вращении вала и солнечной шестерни 2 сателлиты, оставаясь на месте (барабан 7 неподвижен), передают вращение через венец 4 тормозной крышке 5. Нажав на колодочный тормоз 6, останавливают крышку 5, а с нею и венец 4. Сателлиты начинают двигаться по венцу 4 и заставляют вращаться барабан 7, на который наматывается канат, и идет подъём груза. Для остановки поднятого груза нажимают на тормоз спуска 9, а тормоз подъема 6 отпускают.
Спуск инструмента в скважину осуществляют с помощью тормоза спуска. Для охлаждения тормозного шкива в нем имеется водяная рубашка 8, в которую подводится по штуцеру 12 и шлангу 13 вода. Забирая тепло, вода по шлангу 10 и штуцеру 11 уходит в бак. Лебёдка с помощью роликовых подшипников закреплена в кронштейнах 14.

